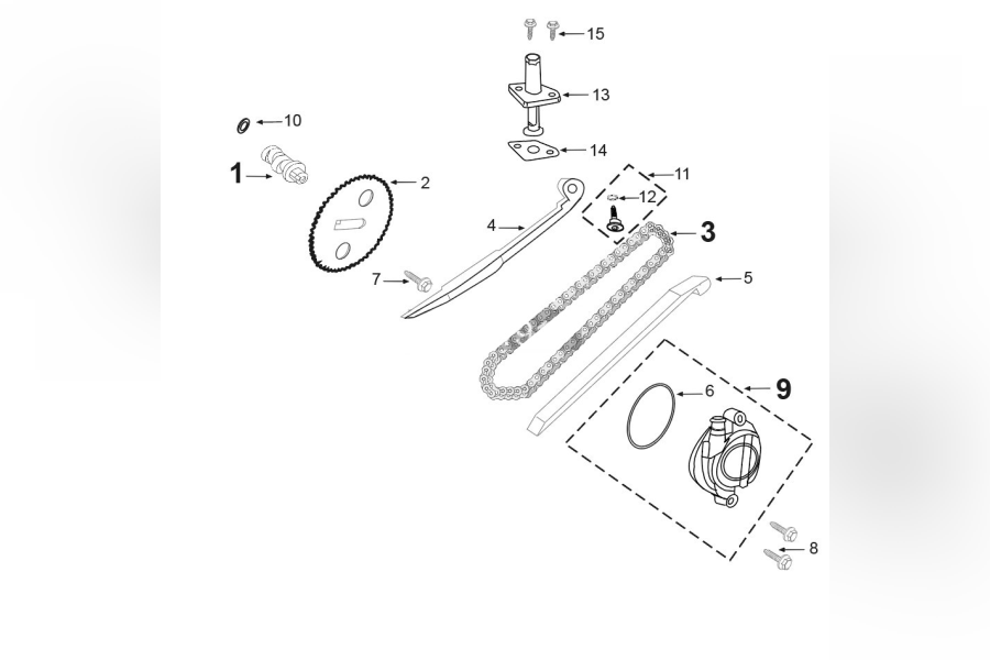
Speedfight 4 50cc 4T Euro 4
“When ordering plastic panels, wheels, frames, forks and seats your VIN/frame number will be required. Please add this to the VIN/Frame box located in the basket section. Pricing will be as listed, however part numbers may differ. We will ensure correct items are supplied.”
